
在工業生產的脈搏中,在液壓系統的運轉里,在城市供水的脈絡間,精準的壓力測量如同“神經中樞”,時刻守護著設備的穩定與效率。今天,為你介紹一款壓力感知利器 —— 森瑟斯 SMP3800/3810 系列 OEM 壓力傳感器芯體,用科技的力量,為你的生產保駕護航!
硬核實力,定義高精度測量新標桿
森瑟斯 SMP3800/3810 系列傳感器芯體,從 “芯” 出發打造卓越性能:

·優秀材質,耐久可靠:采用進口精密 SS317 金屬隔離膜與世界一流半導體 MEMS 測量元件,外殼選用不銹鋼 316L 材質,膜片可選 317 材質,耐腐耐磨,無懼復雜工況。
·數字補償,全溫精準:通過高度集成的數字化補償技術,在 - 10~80℃全溫區完成零位溫度漂移、靈敏度溫度漂移補償及全量程非線性誤差修正,精度高達 0.1 級,讓測量數據始終穩定可靠。
·多重保護,安心使用:具備短路保護和反向極性保護功能,有效避免意外損壞,延長使用壽命。
·靈活適配,安裝無憂:通用φ19mm 安裝尺寸,批量化生產降低成本,后續封裝無論是裝配還是焊接都簡單便捷,無需繁瑣標定測試,為你節省時間與人力成本。
廣泛量程,覆蓋多領域應用場景
無論你面臨的是氣體、液體還是蒸汽的壓力檢測,SMP3800/3810 系列都能輕松應對:
·量程范圍極廣:從 - 0.1MPa 到 70MPa,涵蓋真空、微壓到高壓的全場景需求,滿足不同行業的多樣化測量要求。
·適用領域眾多:
·工業過程控制中,實時監控壓力變化,保障生產流程順暢;
·液壓系統里,精準反饋壓力數據,確保設備高效運行;
·城市供水、水文勘探領域,穩定監測水壓,助力資源合理調配;
·設備配套、氣體液體檢測等行業,提供可靠的壓力感知支持。
量身定制,選型與安裝更省心
為讓你輕松找到匹配的產品,我們提供清晰的選型指南,可根據量程、壓力類型(表壓、絕壓、密封表壓)、輸出信號(4mA~20mA DC、0~5V DC 等)及電氣連接方式(鐵氟龍線)靈活組合,如 “SMP3800-[0~100]kPa-G-E-B3” 便是一款完整規格型號。

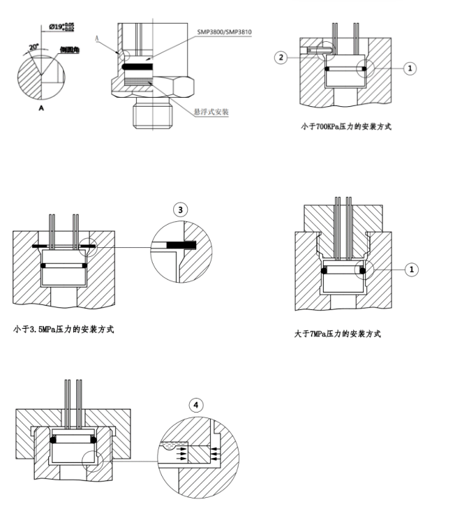
安裝方面,針對不同壓力范圍提供專屬方案,量程<7MPa、≥7MPa 各有適配結構,同時附帶詳細安裝注意事項,從公差配合到操作規范,全方位確保安裝正確,避免因不當操作影響性能。
專業支持,為你全程保駕護航
森瑟斯始終以客戶需求為中心,不僅提供高性價比產品,更有完善的技術支持:
特殊應用場景可定制設計,滿足個性化需求;
·技術支持與銷售團隊隨時待命,電話 029-81106070,郵箱技術支持 info@xian-sensors.com、銷售支持 sales@xian-sensors.com,為你解答疑問,直到你滿意為止。
選擇森瑟斯 SMP3800/3810 系列壓力傳感器芯體,讓每一次壓力測量都精準無誤,為你的生產效率與設備安全筑起堅實防線!

·特殊應用場景可定制設計,滿足個性化需求;
·技術支持與銷售團隊隨時待命,電話 029-81106070,郵箱技術支持 info@xian-sensors.com、銷售支持 sales@xian-sensors.com,為你解答疑問,直到你滿意為止。
選擇森瑟斯 SMP3800/3810 系列壓力傳感器芯體,讓每一次壓力測量都精準無誤,為你的生產效率與設備安全筑起堅實防線!

















手機圖頁網



